Kategorien
- Bad- und Toilettenhilfen
- Bandagen
- Entspanntes Sitzen
- Fit, Gesund und Warm
- Gesund Schlafen
- Kompressionstherapie
- Medizintechnik
- Pflege zu Hause
- Pflegebetten
- Rollator und Gehhilfen
- Rollstuhl
- Treppenlifte
- Schuhe
- Wärmewäsche
- Geschenkideen
- Sonderangebote
Informationen
Kundenmeinungen
Unser Service
keine Versandkosten
innerhalb Deutschlands ab 100,- € Bestellwert
kostenfreie Rücksendung
bei Verwendung unseres Retourenlabels

Produktinformation: "Steh- und Transferweste"
Die Steh- und Transferweste ist ideal für den Einsatz mit einem Deckenlifter. Sie ist für mobilere Nutzer geeignet, da das Körpergewicht teils vom Patienten, teils vom Stützsystem getragen wird. Sie unterstützt den Patienten bei Gleichgewichts-, Steh- und Gehübungen. Sie kann auch bei der Körperhygiene eingesetzt werden. Der Patient sollte die Beine belasten und stehen können.
Standing Transfer Vest / Steh- und Transferweste (für Deckenlifter)
- Vielfältige Auswahlmöglichkeiten für die individuelle Anpassung an den Patienten
- Standard-Stoff
- Farbliche Kennzeichnung der Gurtgrößen für die Auswahl entsprechend dem Körperbau des Patienten
- Patient kann optimal im Gurt positioniert werden: sicherer und einfacher Transfer
- Weiche und anschmiegsame Gurte und Schlaufen
- Zusätzliche Polsterung an den Auflagepunkten für gute Druckverteilung
- Schnell trocknendes Material - ideal für den Einsatz im Nassbereich
- Gurte können bei 60° bzw. 80° in der Waschmaschine gewaschen werden
- Hilfsmittelnummer: 22.40.04.0001
Patientengewicht
| maximale Belastbarkeit | Belastbarkeit mit Leistengurt | ||
| Gurtgröße S | orange | 200 kg | 159 kg |
| Gurtgröße M | gelb | 200 kg | 159 kg |
| Gurtgröße L | blau | 200 kg | 159 kg |
| Gurtgröße XL | schwarz | 200 kg | 159 kg |
Verwendung in Kombination mit einem Deckenlifter
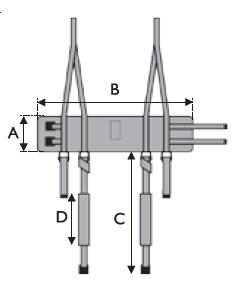
Abmessungen
| S | M | L | XL | |
| A | 150 | 180 | 180 | 180 |
| B | 850 | 950 | 1050 | 1200 |
| C | 850 | 950 | ||
| D | 850 | 350 | ||
Optional bieten wir den Groin Band / Leistengurt für die Steh- und Transferweste gleich mit an:
| Größe | Standard-Stoff | für Steh-u. Transferweste Größe |
| S | 60125679 | XS und S |
| L | 60125680 | M, L und XL |
Die hier aufgeführten Artikel sind nur begrenzt lieferbar. Beim Hersteller Invacare sind die Artikel derzeit nicht mit verbindlichen Lieferzeiten erhältlich. Wir ordern die Ware nach Bestelleingang zeitnah für Sie, entgegen der Anzeige der Lieferzeiten müssen Sie mit Lieferzeiten von 2 Wochen bis 2 Monaten rechnen.



